Gear Couplings TNZ ZCAK / TNZ ZCBK | RINGFEDER®

Type with limited end float

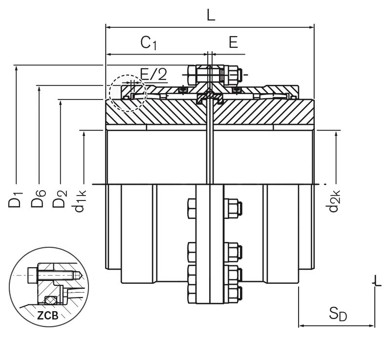
The double cardanic versions RINGFEDER® TNZ ZCAK and RINGFEDER® TNZ ZCBK are equipped with a limitation of the end float. The limitation of the end float serves to axially locate a shaft that is mounted on sleeve bearings. he rotor of an electric motor with sleeve bearings can thus be aligned within a desired tolerance range via the coupling to the bearing of the driven machine, so that the rotor remains at its magnetic centre during acceleration of the driving machine. The limitation of the end float constrains the ability to compensate for angular and radial shaft misalignments. In contrast to the TNZ ZCAK with integrated O-ring, the TNZ ZCBK has screwed-on, separate O-ring supports.

Technical Data & CAD Models

You require CAD data for this TNZ type? Of course, we are more than happy to provide you with these. Contact us quickly and easily via our request form, by e-mail or using the "Need Help?" feature at the bottom right of this site.

CAD
Größe/Size
Bezeichnung / Identifier
ZCA

TKN
Nm
nmax
1/min
d1kmin
mm
d1kmax
mm
D1
mm
D6
mm
L
mm
Gwsb
kg
69 XC2706 1750 6000 12 50 111 81,5 89 4,0
85 XC2708 2750 4600 18 60 152 103,5 103 8,4
107 XC2710 5500 4200 28 75 178 127,5 127 14,1
133 XC2713 8500 4000 40 95 213 156 157 24,8
152 XC2715 13500 3850 50 110 240 181 185 36,4
179 XC2717 22000 3700 60 130 280 209 216 58,0
209 XC2720 35000 3200 70 155 318 245,5 245 87,0
234 XC2723 43000 2900 85 170 346 274 278 113,7
254 XC2725 68000 2600 95 190 389 307 308 163,1
279 XC2727 82000 2300 110 210 425 334,5 358 215,4
305 XC2730 150000 2100 120 230 457 366 388 261,5
355 XC2735 195000 1800 130 270 527 423 450 409,2
CAD Größe/Size
Bezeichnung / Identifier
ZCA

TKN
ft-lbs
nmax
rpm
d1kmin
inch
d1kmax
inch
D1
inch
D6
inch
L
inch
Gwsb
lbs
  69 XC2706 1291 6000 0.472 1.969 4.370 3.209 3.504 8.8
  85 XC2708 2028 4600 0.709 2.362 5.984 4.075 4.055 18.5
  107 XC2710 4057 4200 1.102 2.953 7.008 5.020 5.000 31.1
  133 XC2713 6269 4000 1.575 3.740 8.386 6.142 6.181 54.7
  152 XC2715 9957 3850 1.969 4.331 9.449 7.126 7.283 80.2
  179 XC2717 16227 3700 2.362 5.118 11.024 8.228 8.504 127.9
  209 XC2720 25815 3200 2.756 6.102 12.520 9.665 9.646 191.8
  234 XC2723 31716 2900 3.346 6.693 13.622 10.787 10.945 250.7
  254 XC2725 50155 2600 3.740 7.480 15.315 12.087 12.126 359.6
  279 XC2727 60481 2300 4.331 8.268 16.732 13.169 14.094 474.9
  305 XC2730 110636 2100 4.724 9.055 17.992 14.409 15.276 576.5
  355 XC2735 143826 1800 5.118 10.630 20.748 16.654 17.717 902.1

Product Characteristics

General features

  • Torsionally rigid gear coupling made of high-quality steel
  • Very compact design results in a high-power density
  • Compensates for angular, radial and axial shaft offset
  • Suitable for use in temperatures up to +120 °C if special seals are used
  • Available with split sleeve (ZCA / ZCB - ZCA model range also available in ZCB design) and single-piece sleeve (ZCH)
  • The elastic O-Ring can be replaced without having to move the coupled machines
  • Bores up to 270 mm
  • Torques up to TKn = 195,000 Nm / TKmax = 390,000 Nm
  • Speeds up to nmax = 6,000 rpm

General description

The RINGFEDER® TNZ coupling is a torsionally rigid twin cardanic gear coupling.

Toothing

The coupling housings have a straight internal toothing whilst the hubs have an external toothing with a chased variable radius. As a result, the hubs can move spatially within the housing and thus compensate angular, radial and axial shaft misalignment of the adjoined shaft ends within specified tolerances. Depending on coupling type and size, the standard toothing permits an angular misalignment of up to 0.5 degrees per toothing-plane and an axial movement of several millimetres. The max. possible radial shaft displacement is dependent on the distance between the two toothing planes. Other toothing geometries can be used for further specific applications.

Materials

High-grade tooth profiles and grease with ultra high-pressure additives guarantee low-restoring forces and a long serviceable life. The material used is forged steel with an apparent yielding point of at least 335 N/mm2. Special materials can be used for further specific applications. Sealing is carried out using O-Rings of synthetic rubber. The housings are centred and held together by fit-bolts and self-locking nuts.

Temperature

The use of special seals permits the temperature limit to be raised to 120 °C.

Balance

At peripheral speeds upwards of 30 m/s it is advisable to dynamically balance the coupling.

Special applications

If greater misalignments are anticipated at higher speeds and torques, an examination is necessary, performed with the assistance of a special computing programme. This is independent of the determined size. The value TKmax may not be exceeded in any state of operation (start-up, electrical short circuit, blocking, etc.).

Tolerances and standards

The bore tolerance is ISO H7, if not differently ordered. The bore diameters listed refer to keyways to DIN 6885-1 with wide toleranz ISO P9.

 

Downloads

Product Paper Gear Couplings RINGFEDER® TNZ

Product Paper Gear Couplings RINGFEDER® TNZ

Tech Paper Gear Couplings RINGFEDER® TNZ ZCAK / TNZ ZCBK

Tech Paper Gear Couplings RINGFEDER® TNZ ZCAK / TNZ ZCBK

Further downloads including certificates, instruction manuals and product images are available to you in our Download Center:

Downloads