Gear Couplings TNZ ZCA / TNZ ZCB | RINGFEDER®

Standard hubs

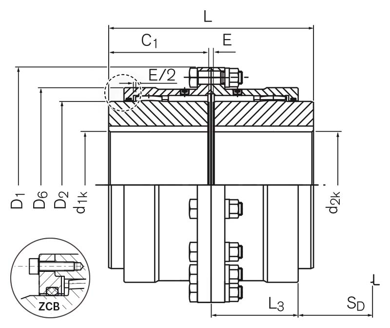
The RINGFEDER® TNZ ZCA coupling is a torsionally stiff gear coupling designed to have some backlash and consists of two coupling halves that are connected by fitted bolts.

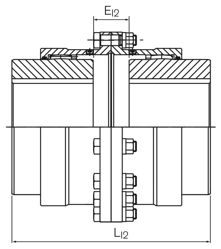
Unlike the TNZ ZCA coupling, the RINGFEDER® TNZ ZCB comes with a bolt-on O-ring carrier which facilitates installation by changing the mounting sequence. For mounting the coupling, unscrew the cover and place it on the shaft. Mount the hub onto the shaft, slide the sleeve onto the hub and fasten the O-ring carrier to the sleeve. This way of mounting is advantageous when large couplings are involved.

 

Technical Data & CAD Models

Download of CAD data is available to you after login with your personal Customer or Distributor Account. You do not have an account yet? Register here without any costs or obligations.

CAD
Größe/Size
Bezeichnung / Identifier
ZCA

TKN
Nm
nmax
1/min
d1kmin
mm
d1kmax
mm
D1
mm
D6
mm
L
mm
LI2
mm
Gwsb
kg
69 XC2106 1750 6000 12 50 111 81,5 89 93 4,1
85 XC2108 2750 4600 18 60 152 103,5 103 113 8,7
107 XC2110 5500 4200 28 75 178 127,5 127 149 14,4
133 XC2113 8500 4000 40 95 213 156 157 171 25,6
152 XC2115 13500 3850 50 110 240 181 185 223 37,3
179 XC2117 22000 3700 60 130 280 209 216 258 58,9
209 XC2120 35000 3200 70 155 318 245,5 246 298 88,6
234 XC2123 43000 2900 85 170 346 274 278 336 116,1
254 XC2125 68000 2600 95 190 389 307 308 392 166,0
279 XC2127 82000 2300 110 210 425 334,5 358 448 219,2
305 XC2130 150000 2100 120 230 457 366 388 488 265,9
355 XC2135 195000 1800 130 270 527 423 450 574 415,8
CAD Größe/Size
Bezeichnung / Identifier
ZCA

TKN
ft-lbs
nmax
rpm
d1kmin
inch
d1kmax
inch
D1
inch
D6
inch
L
inch
LI2
inch
Gwsb
lbs
  69 XC2106 1291 6000 0.472 1.969 4.370 3.209 3.504 3.661 9.0
  85 XC2108 2028 4600 0.709 2.362 5.984 4.075 4.055 4.449 19.2
  107 XC2110 4057 4200 1.102 2.953 7.008 5.020 5.000 5.866 31.7
  133 XC2113 6269 4000 1.575 3.740 8.386 6.142 6.181 6.732 56.4
  152 XC2115 9957 3850 1.969 4.331 9.449 7.126 7.283 8.780 82.2
  179 XC2117 16227 3700 2.362 5.118 11.024 8.228 8.504 10.157 129.9
  209 XC2120 25815 3200 2.756 6.102 12.520 9.665 9.685 11.732 195.4
  234 XC2123 31716 2900 3.346 6.693 13.622 10.787 10.945 13.228 256.0
  254 XC2125 50155 2600 3.740 7.480 15.315 12.087 12.126 15.433 366.0
  279 XC2127 60481 2300 4.331 8.268 16.732 13.169 14.094 17.638 483.2
  305 XC2130 110636 2100 4.724 9.055 17.992 14.409 15.276 19.213 586.1
  355 XC2135 143826 1800 5.118 10.630 20.748 16.654 17.717 22.598 916.7

Product Characteristics

General features

  • Torsionally rigid gear coupling made of high-quality steel
  • Very compact design results in a high-power density
  • Compensates for angular, radial and axial shaft offset
  • Suitable for use in temperatures up to +120 °C if special seals are used
  • Available with split sleeve (ZCA / ZCB - ZCA model range also available in ZCB design) and single-piece sleeve (ZCH)
  • The elastic O-Ring can be replaced without having to move the coupled machines
  • Bores up to 270 mm
  • Torques up to TKn = 195,000 Nm / TKmax = 390,000 Nm
  • Speeds up to nmax = 6,000 rpm

General description

The RINGFEDER® TNZ coupling is a torsionally rigid twin cardanic gear coupling.

Toothing

The coupling housings have a straight internal toothing whilst the hubs have an external toothing with a chased variable radius. As a result, the hubs can move spatially within the housing and thus compensate angular, radial and axial shaft misalignment of the adjoined shaft ends within specified tolerances. Depending on coupling type and size, the standard toothing permits an angular misalignment of up to 0.5 degrees per toothing-plane and an axial movement of several millimetres. The max. possible radial shaft displacement is dependent on the distance between the two toothing planes. Other toothing geometries can be used for further specific applications.

Materials

High-grade tooth profiles and grease with ultra high-pressure additives guarantee low-restoring forces and a long serviceable life. The material used is forged steel with an apparent yielding point of at least 335 N/mm2. Special materials can be used for further specific applications. Sealing is carried out using O-Rings of synthetic rubber. The housings are centred and held together by fit-bolts and self-locking nuts.

Temperature

The use of special seals permits the temperature limit to be raised to 120 °C.

Balance

At peripheral speeds upwards of 30 m/s it is advisable to dynamically balance the coupling.

Special applications

If greater misalignments are anticipated at higher speeds and torques, an examination is necessary, performed with the assistance of a special computing programme. This is independent of the determined size. The value TKmax may not be exceeded in any state of operation (start-up, electrical short circuit, blocking, etc.).

Tolerances and standards

The bore tolerance is ISO H7, if not differently ordered. The bore diameters listed refer to keyways to DIN 6885-1 with toleranz ISO P9.

 

Downloads

Product Paper Gear Couplings RINGFEDER® TNZ

Product Paper Gear Couplings RINGFEDER® TNZ

Tech Paper Gear Couplings RINGFEDER® TNZ ZCA / TNZ ZCB

Tech Paper Gear Couplings RINGFEDER® TNZ ZCA / TNZ ZCB

Instruction Manual Gear Couplings RINGFEDER® TNZ ZCA / TNZ ZCB, TNZ ZCAU / TNZ ZCBU, TNZ ZCAUU / TNZ ZCBUU

Instruction Manual Gear Couplings RINGFEDER® TNZ ZCA / TNZ ZCB, TNZ ZCAU / TNZ ZCBU, TNZ ZCAUU / TNZ ZCBUU

Further downloads including certificates, instruction manuals and product images are available to you in our Download Center:

Downloads