Elastomer Jaw Couplings TNM GHBS | RINGFEDER®

Multi-part design with straight brake disk made of steel

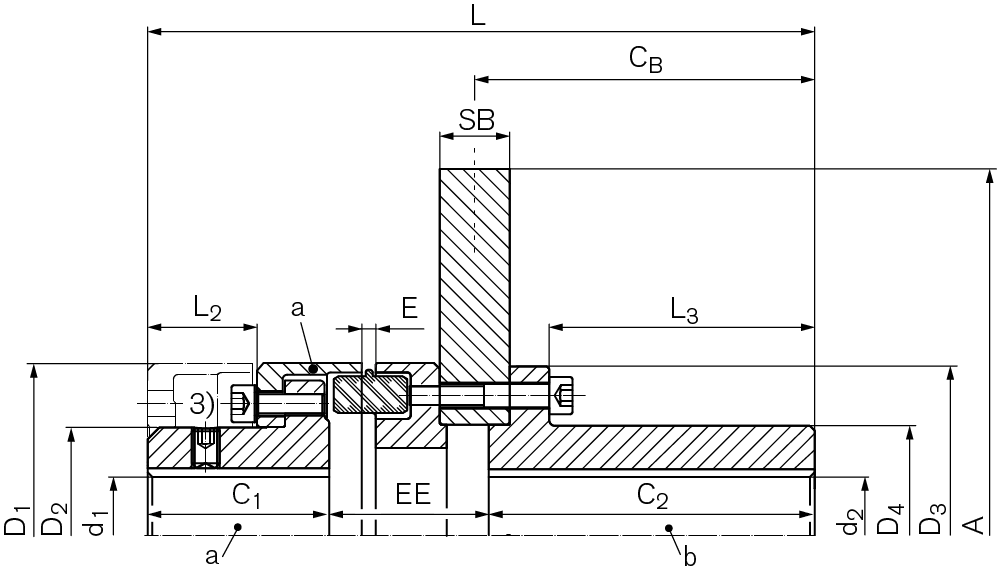
The RINGFEDER® TNM GHBS is an torsionally flexible and shock-proof claw coupling with removable brake disc and claw ring. It compensates angular as well as radial and axial shaft misalignment within fixed tolerances. The torque is transmitted by an elastic transitional ring. The elastic transitional ring is made of syntetic rubber (Pb) dampens shocks and torsional vibrations. It is normally electrically conductive. This prevents among other things undesirable static charging. The coupling can be used for either direction of rotation and may be installed in any position. For easy separation of the coupled machines one coupling half consists of a hub and a bolt on claw ring. A check of the rotation direction of the drive is possible when the claw ring is unbolted and slid back. In the same manner a coupling half with the associated aggregate can be removed radially. The elastic transitional ring and the brake disc may be replaced without axial displacement of the machines.

Technical Data & CAD Models

Download of CAD data is available to you after login with your personal Customer or Distributor Account. You do not have an account yet? Register here without any costs or obligations.

CAD
Identifier
A
mm
SB
mm
TKNPb82
Nm
TBR
Nm
nmax
1/min
d1kmax
mm
d2kmax
mm
D4
mm
C1
mm
C2
mm
L
mm
WN1514-315 315 30 600 1000 4500 65 65 94 78 140 286,5
WN1516-355 355 30 980 1600 4000 75 80 115 87 140 304,5
WN1516-400 400 30 980 1600 4000 75 80 115 87 140 304,5
WN1516-450 450 30 980 1600 3750 75 80 115 87 140 304,5
WN1519-400 400 30 1650 2750 3500 85 95 135 97 140 321,5
WN1519-560 560 30 1650 2750 3000 85 95 135 97 140 321,5
WN1524-450 450 30 3700 4200 2750 100 115 165 117 140 354
WN1524-560 560 30 3700 4200 2750 100 115 165 117 140 354
WN1524-630 630 30 3700 4200 2750 100 115 165 117 140 354
WN1526-500 500 30 5800 8700 2500 115 135 195 137 140 381,5
WN1526-560 560 30 5800 8700 2500 115 135 195 137 140 381,5
WN1526-710 710 30 5800 8700 2400 115 135 195 137 140 381,5
WN1529-630 630 30 7550 9800 2250 130 153 215 147 140 396,5
WN1529-710 710 30 7550 9800 2250 130 153 215 147 140 396,5
CAD Identifier
A
inch
SB
inch
TKNPb82
ft-lbs
TBR
ft-lbs
nmax
rpm
d1kmax
inch
d2kmax
inch
D4
inch
C1
inch
C2
inch
L
inch
  WN1514-315 12.402 1.181 443 738 4500 2.55905 2.55905 3.701 3.071 5.512 11.280
  WN1516-355 13.976 1.181 723 1180 4000 4.528 3.425 5.512 11.988
  WN1516-400 15.748 1.181 723 1180 4000 4.528 3.425 5.512 11.988
  WN1516-450 17.717 1.181 723 1180 3750 4.528 3.425 5.512 11.988
  WN1519-400 15.748 1.181 1217 2028 3500 5.315 3.819 5.512 12.657
  WN1519-560 22.047 1.181 1217 2028 3000 5.315 3.819 5.512 12.657
  WN1524-450 17.717 1.181 2729 3098 2750 3.937 4.52755 6.496 4.606 5.512 13.937
  WN1524-560 22.047 1.181 2729 3098 2750 3.937 4.52755 6.496 4.606 5.512 13.937
  WN1524-630 24.803 1.181 2729 3098 2750 3.937 4.52755 6.496 4.606 5.512 13.937
  WN1526-500 19.685 1.181 4278 6417 2500 4.52755 5.31495 7.677 5.394 5.512 15.020
  WN1526-560 22.047 1.181 4278 6417 2500 4.52755 5.31495 7.677 5.394 5.512 15.020
  WN1526-710 27.953 1.181 4278 6417 2400 4.52755 5.31495 7.677 5.394 5.512 15.020
  WN1529-630 24.803 1.181 5569 7228 2250 5.1181 6.02361 8.465 5.787 5.512 15.610
  WN1529-710 27.953 1.181 5569 7228 2250 8.465 5.787 5.512 15.610

Product Characteristics

RINGFEDER® TNM GHBS

With brake disk in steel, multi-part design, to change the intermediate ring and the brake disk without axial movement of the driven parts. Elastic intermediate ring in different hardnesses: standard Pb72, hard Pb82.

General features

  • Torsionally flexible, compensate for angular, radial and axial shaft misalignment
  • Intermediate rings loaded in compression
  • Elastomers available in various shore hardness degrees
  • Suitable for temperatures from –30°C to +100°C
  • The elastic ring can be replaced without having to move the coupled machines (multi-part models)
  • Bores up to max. 150 mm
  • Torques up to TKn = 7,550 Nm / TKmax = 18,000 Nm
  • Speeds up to nmax = 4,500 rpm

INTRODUCTION

The rotationally resilient coupling of the RINGFEDER® TNM series is flexible in all directions and therefore compensates for angular, parallel and axial shaft misalignments of the connected machines. Misalignments can be caused, for example, by inaccurate assembly, heat movements or settling phenomena.

Avoiding Torsional Vibration

By virtue of the rotational resilience of the coupling, dangerous torsional vibrations from the operational range of plant machinery can be transferred to rotational speed ranges in which no negative effects are to be expected. The elastic intermediate rings possess a high material damping capability which makes it possible for the couplings to keep the resonance enhancements within limits when passing through dangerous speed ranges, thereby protecting the coupled machines against damage. The couplings also mitigate torque shocks and cause a vibrating system that has been excited by an impact to come to rest very quickly due to the material damping qualities. The conduction of structure-borne noise is prevented.

Elastomer Materials

Synthetic rubbers are used for the elastic elements of the TNM couplings. As a rule these are electrically conductive and therefore prevent undesirable static charges. For the elastic elements of the RINGFEDER® TNM coupling series, there are two different material hardnesses available as standard.

Pb 72 - nitrile butadien rubber (NBR) with a hardness of 72 Shore A.
Pb 82 - nitrile butadien rubber (NBR) with a hardness of 82 Shore A.
The resilience of the individual elastomer materials is designated by their Shore hardness. From these values an indirect conclusion can be drawn with respect to the torques the coupling is able to transmit and its spring stiffness. For further details, please see the technical data sheet.

Environmental conditions

The employed elastomer materials operate reliably in ambient temperature ranges of –30° to +100°C. Please contact RINGFEDER POWER TRANSMISSION if higher ambient temperatures are involved. The influence of the temperature on the coupling size selection is explained in more detail in the below-mentioned design directives. It is only allowed to operate the coupling in normal industrial air. Aggressive media may attack the coupling components, bolts and elastic elements, and, therefore, present a danger to the operational safety of the coupling. The coupling can be declared compliant with the European Directive 2014/34/EU (ATEX). Please contact RINGFEDER POWER TRANSMISSION regarding the declaration of conformity according to 2014/34/EU and the effects of aggressive ambient media.

Downloads

Product Paper Elastomer Jaw Couplings RINGFEDER® GWE, TNM, TNS, TNB

Product Paper Elastomer Jaw Couplings RINGFEDER® GWE, TNM, TNS, TNB

Tech Paper Elastomer Jaw Couplings RINGFEDER® TNM GHBS

Tech Paper Elastomer Jaw Couplings RINGFEDER® TNM GHBS

Instruction Manual Elastomer Jaw Couplings RINGFEDER® GHBS

Instruction Manual Elastomer Jaw Couplings RINGFEDER® GHBS

Further downloads including certificates, instruction manuals and product images are available to you in our Download Center:

Downloads