Three part design with VKR buffers - Retractable claw ring
The RINGFEDER® TNB BHD coupling is a torsionally flexible, puncture proof claw coupling. It compensates for angular, radial and axial shaft misalignments within defined limits. The coupling transmits torque through elastic buffers loaded in compression. These buffers come in synthetic rubber (PB) or polyurethane (Vk), as a standard VkR. These elastic buffers dampen shocks and torsional vibrations and are resistant to oil. Buffers made of perbunan are electrically conductive. One of the coupling halves consists of a flange hub to which a claw ring is bolted. When the claw ring is removed, it is easily possible to check the rotational direction of the drive. The coupling is suitable for use in every direction of rotation and installation position.
| CAD |
Identifier
|
TKN
Nm |
nmax
1/min |
d1f max
mm |
d2f max
mm |
D1
mm |
D4
mm |
C1
mm |
C2
mm |
L
mm |
Gwub
kg |
|---|---|---|---|---|---|---|---|---|---|---|---|
| WB0230-A | 6000 | 3300 | 127 | 104,8 | 300 | 170 | 160 | 160 | 384 | 104 | |
| WB0230-B | 6000 | 3300 | 127 | 127 | 300 | 200 | 160 | 186 | 410 | 120 | |
| WB0235-A | 10500 | 2800 | 146,1 | 114,3 | 350 | 180 | 180 | 180 | 424 | 142 | |
| WB0235-B | 10500 | 2800 | 146,1 | 158,8 | 350 | 250 | 180 | 231 | 475 | 191 | |
| WB0240-A | 16000 | 2450 | 165,1 | 130,2 | 400 | 210 | 198 | 190 | 459 | 206 | |
| WB0240-B | 16000 | 2450 | 165,1 | 177,8 | 400 | 280 | 198 | 239 | 508 | 265 | |
| WB0245-A | 21000 | 2200 | 184,2 | 158,8 | 450 | 250 | 218 | 200 | 489 | 271 | |
| WB0245-B | 21000 | 2200 | 184,2 | 187,4 | 450 | 300 | 218 | 239 | 528 | 322 | |
| WB0250-A | 28500 | 2000 | 196,9 | 165,1 | 500 | 270 | 236,5 | 228 | 547,5 | 373 | |
| WB0250-B | 28500 | 2000 | 196,9 | 203,2 | 500 | 330 | 236,5 | 279 | 598,5 | 451 | |
| WB0255-A | 45000 | 1800 | 217,5 | 184,2 | 550 | 280 | 256,5 | 228 | 567,5 | 442 | |
| WB0255-B | 45000 | 1800 | 217,5 | 217,5 | 550 | 350 | 256,5 | 279 | 618,5 | 534 | |
| WB0260-A | 55000 | 1650 | 228,6 | 212,8 | 600 | 330 | 258 | 258 | 604 | 578 | |
| WB0260-B | 55000 | 1650 | 228,6 | 242,3 | 600 | 385 | 258 | 299 | 645 | 672 | |
| WB0265-A | 65000 | 1500 | 228,6 | 228,6 | 650 | 350 | 286,5 | 258 | 637,5 | 695 | |
| WB0265-B | 65000 | 1500 | 228,6 | 242,3 | 650 | 385 | 286,5 | 299 | 678,5 | 767 | |
| WB0270-A | 90000 | 1400 | 263,6 | 228,6 | 700 | 370 | 327 | 298 | 727 | 941 | |
| WB0270-B | 90000 | 1400 | 263,6 | 271,5 | 700 | 450 | 327 | 345 | 774 | 1105 | |
| WB0280-A | 120000 | 1200 | 292,1 | 279,4 | 800 | 450 | 357 | 338 | 797 | 1316 | |
| WB0280-B | 120000 | 1200 | 292,1 | 304,8 | 800 | 490 | 357 | 365 | 824 | 1426 | |
| WB0290-A | 180000 | 1100 | 330,2 | 304,8 | 900 | 480 | 407 | 338 | 853 | 1695 | |
| WB0290-B | 180000 | 1100 | 330,2 | 366,9 | 900 | 590 | 407 | 399 | 914 | 2042 |
| CAD |
Identifier |
TKN ft-lbs |
nmax rpm |
d1f max inch |
d2f max inch |
D1 inch |
D4 inch |
C1 inch |
C2 inch |
L inch |
Gwub lbs |
|---|---|---|---|---|---|---|---|---|---|---|---|
| WB0230-A | 4425 | 3300 | 5.000 | 4.126 | 11.811 | 6.693 | 6.299 | 6.299 | 15.118 | 229.28 | |
| WB0230-B | 4425 | 3300 | 5.000 | 5.000 | 11.811 | 7.874 | 6.299 | 7.323 | 16.142 | 264.55 | |
| WB0235-A | 7744 | 2800 | 5.752 | 4.500 | 13.780 | 7.087 | 7.087 | 7.087 | 16.693 | 313.06 | |
| WB0235-B | 7744 | 2800 | 5.752 | 6.252 | 13.780 | 9.843 | 7.087 | 9.094 | 18.701 | 421.08 | |
| WB0240-A | 11801 | 2450 | 6.500 | 5.126 | 15.748 | 8.268 | 7.795 | 7.480 | 18.071 | 454.15 | |
| WB0240-B | 11801 | 2450 | 6.500 | 7.000 | 15.748 | 11.024 | 7.795 | 9.409 | 20.000 | 584.23 | |
| WB0245-A | 15489 | 2200 | 7.252 | 6.252 | 17.717 | 9.843 | 8.583 | 7.874 | 19.252 | 597.45 | |
| WB0245-B | 15489 | 2200 | 7.252 | 7.378 | 17.717 | 11.811 | 8.583 | 9.409 | 20.787 | 709.89 | |
| WB0250-A | 21021 | 2000 | 7.752 | 6.500 | 19.685 | 10.630 | 9.311 | 8.976 | 21.555 | 822.32 | |
| WB0250-B | 21021 | 2000 | 7.752 | 8.000 | 19.685 | 12.992 | 9.311 | 10.984 | 23.563 | 994.29 | |
| WB0255-A | 33191 | 1800 | 8.563 | 7.252 | 21.654 | 11.024 | 10.098 | 8.976 | 22.342 | 974.44 | |
| WB0255-B | 33191 | 1800 | 8.563 | 8.563 | 21.654 | 13.780 | 10.098 | 10.984 | 24.350 | 1177.27 | |
| WB0260-A | 40566 | 1650 | 9.000 | 8.378 | 23.622 | 12.992 | 10.157 | 10.157 | 23.779 | 1274.27 | |
| WB0260-B | 40566 | 1650 | 9.000 | 9.539 | 23.622 | 15.157 | 10.157 | 11.772 | 25.394 | 1481.51 | |
| WB0265-A | 47942 | 1500 | 9.000 | 9.000 | 25.591 | 13.780 | 11.280 | 10.157 | 25.098 | 1532.21 | |
| WB0265-B | 47942 | 1500 | 9.000 | 9.539 | 25.591 | 15.157 | 11.280 | 11.772 | 26.713 | 1690.95 | |
| WB0270-A | 66381 | 1400 | 10.378 | 9.000 | 27.559 | 14.567 | 12.874 | 11.732 | 28.622 | 2074.55 | |
| WB0270-B | 66381 | 1400 | 10.378 | 10.689 | 27.559 | 17.717 | 12.874 | 13.583 | 30.472 | 2436.11 | |
| WB0280-A | 88508 | 1200 | 11.500 | 11.000 | 31.496 | 17.717 | 14.055 | 13.307 | 31.378 | 2901.29 | |
| WB0280-B | 88508 | 1200 | 11.500 | 12.000 | 31.496 | 19.291 | 14.055 | 14.370 | 32.441 | 3143.79 | |
| WB0290-A | 132763 | 1100 | 13.000 | 12.000 | 35.433 | 18.898 | 16.024 | 13.307 | 33.583 | 3736.84 | |
| WB0290-B | 132763 | 1100 | 13.000 | 14.445 | 35.433 | 23.228 | 16.024 | 15.709 | 35.984 | 4501.84 |
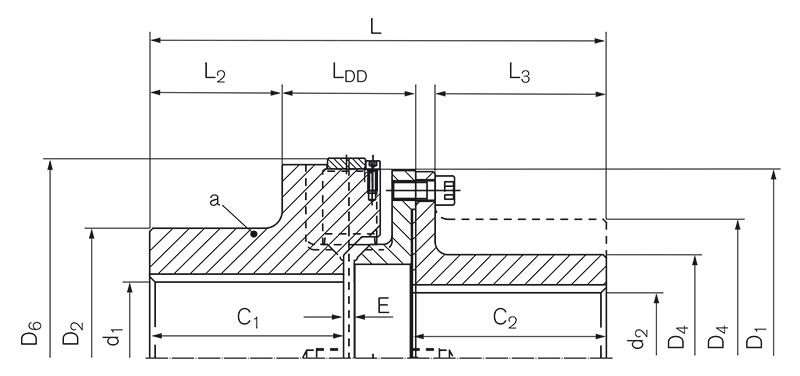
Three-part design coupling with VkR buffer. Easy replacement of the elastic buffer without axial movement of the coupled machines.
The rotationally resilient, failsafe claw coupling RINGFEDER® TNB series is flexible in all directions and therefore compensates for angular, parallel and axial shaft misalignments of the connected machines. Misalignments can be caused, for example, by inaccurate assembly, heat movements or settling phenomena.
By virtue of the rotational resilience of the coupling, dangerous torsional vibrations from the operational range of plant machinery can be transferred to rotational speed ranges in which no negative effects are to be expected. The elastic buffers possess a high material damping capability which makes it possible for the couplings to keep the resonance enhancements within limits when passing through dangerous speed ranges, thereby protecting the coupled machines against damage. The couplings also mitigate torque shocks and cause a vibrating system that has been excited by an impact to come to rest very quickly due to the material damping qualities. The conduction of structure-borne noise is prevented.
The elastic RINGFEDER® TNB buffers are made of butadiene-nitril-rubber (Pb82) or polyurethane (VkR, VkW). The black buffer (Pb82) are normally electrically conductive and therefore prevent undesirable electrostatic charges. The red (VkR) and white (VkW) buffers ensure electrical insulation between connected machines as long as there are no other electrically conductive connections. The resilience of the individual elastomer materials is designated by their Shore hardness. From these values an indirect conclusion can be drawn with respect to the torques the coupling is able to transmit and its spring stiffness. For further details, please see the technical data sheet.
The employed elastomer materials operate reliably in ambient temperature ranges of –30° to +100°C. Please contact RINGFEDER POWER TRANSMISSION if higher ambient temperatures are involved. The influence of the temperature on the coupling size selection is explained in more detail in the below-mentioned design directives. It is only allowed to operate the coupling in normal industrial air. Aggressive media may attack the coupling components, bolts and elastic elements, and, therefore, present a danger to the operational safety of the coupling. The coupling can be declared compliant with the European Directive 2014/34/EU (ATEX). Please contact RINGFEDER POWER TRANSMISSION regarding the declaration of conformity according to 2014/34/EU and the effects of aggressive ambient media.
Product Paper Elastomer Jaw Couplings RINGFEDER® GWE, TNM, TNS, TNB
Tech Paper Elastomer Jaw Couplings RINGFEDER® TNB BHD
Instruction Manual Elastomer Jaw Couplings RINGFEDER® TNB BHD
Further downloads including certificates, instruction manuals and product images are available to you in our Download Center:
Downloads